产品中心
联系我们
- 电话 : +86-510-83271766
- 手机 : +86-018661287278
- 邮箱 : 31659334@qq.com
- 网址 : www.kingreiter.com
- 地址 : 江苏省无锡市钱桥镇恒源祥工业园恒亮路12号
-
产品名称 :
喷涂四氟冷凝器 -
产品分类:
碟片式交换器(冷凝器)
产品描述

1 范围
本标准规定了多孔搪玻璃片式冷凝器的S式、基本参数、主要尺寸和要求以及铭牌、出厂文件及包 装、运输。
本标准适用于器内设计压力大于一0. 1 MPa、小于0. 1 MPa,夹层内设计压力小于等于0. 25 MPa, 冷凝器面积3 m2〜30 m2,器内工作温度0 C〜200 X:,夹层内工作溫度小于等于95 1^的多孔搪玻璃片 式冷凝器。
2 规范性引用文件
下列文件对于本文件的应用是必不可少的.凡是注日期的引用文件,仅注日期的版本适用于本文 件。凡是不注日期的引用文件,其新版本(包括所有的修改单)适用于本文件。
GB/T 94. 3殚性垫圈技术条件鞍形、波形弹性垫圈
GB/T 898 双头螺柱bm = 1.25d
GB/T 6170 1型六角锞母
GB 25025搪玻璃设备技术条件
HG/T 2049搪玻璃设备卨颈法兰
HG/T 2054搪玻璃设备卡子
HG/T2143搪玻璃设备管口
HG/T 20592 钢制管法兰(PN系列)
QB/T 3627聚四氟乙烯薄膜
3 术语和定义
下列术语和定义适用于本文件。
3.1
多孔搪玻璃片式冷凝器 glassHined porous plate-type condenser
单片由两碟片焊制,并分别制作成大孔和多孔,间隔重备组合的搪玻璃冷凝器.
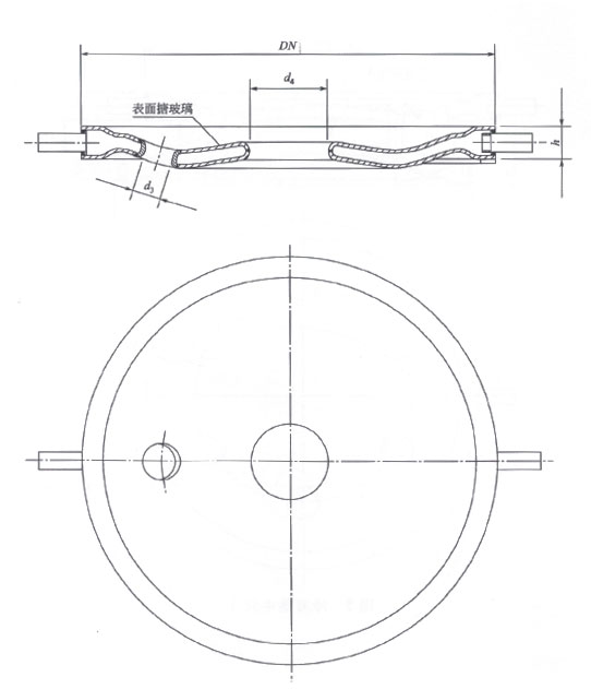
4 型式、基本参数和主要尺寸
4.1型式
多孔片式冷凝器由器盖、器底、冷凝中片1、冷凝中片2组成,夹层内冷却水由器外接头串联或并联 连接。
多孔片式冷凝器塱式、基本参数和主要尺寸见图1、表1、表2和表3。

图1 多孔搪玻璃片式冷凝器
表1明细表
| 件号 | 标准号 | 名称 | 数摄 | 材料 | 备注 |
| 1 | 一 | 管口附件 | 2 | 组合件 | |
| 2 | _ | 器底 | 1 | 符合GB 2S025要求 | 搪玻璃 |
| 3 | 冷凝中片1 | 符合GB 25025要求 | 搪玻璃 | ||
| 4 | 一 | 冷凝屮片2 | 符合GB 25025要求 | 搪玻璃 | |
| 5 | — | 密封圈 | 组合件 | ||
| 6 | 接管组 | 夹布压力胶管 | |||
| 7 | 掂玻璃环 | 符合GB 25025要求 | 搪玻璃 | ||
| 8 | — | 器盖 | 1 | 符合GB 25025要求 | 搪玻璃 |
| 9 | HG/T 2054 | 卡子AM20 | 组合件 | 根据规格碥定数fi | |
| 10 | GB/T 6170 | 螵母 M20 | 8级 | 根据规格确定数量 | |
| 11 | GB/T 898 | 双头螺柱 | 8. 8级 | 根据规格确定数世 | |
| 12 | GB/T 94. 3 | 弹性垫圈 | 65Mn | 拫据规格确定数蛍 | |
| 13 | 铭牌 | 1 | 组合件 |
表2管口公称直径 单位为毫米
| 管口 | WN 0. 63 | WN 1 | 标准编号 | 用途 |
| a | 150 | 150 | HG/T 2143 | 热流体进料口 |
| b | 80 | 100 | HG/T 2143 | 热流体出料口 |
| c | 25 | 32 | HG/T 20592 | 冷邰水进口 |
| d | 25 | 32 | HG/T 20592 | 冷却水出口 |
| e | 25 | 32 | HG/T 20592 | 冷却水进口 |
| f | 25 | 32 | HG/T 20592 | 冷却水出口 |
4.2 冷凝片面积
多孔搪玻璃片式冷凝器由器盖、器底和冷凝片组成,冷凝面积为三者之和冷凝片冷凝面积分两种规格:0.63㎡/片、1.0 ㎡/片,分别以WN-0. 63和WN-1表示。器盖和器底的冷凝面积为冷凝片面积 的二分之一。
表3尺寸表
| 类别 | 冷凝片数 | 搪玻璃环数量 | 冷凝面积 /m2 | DN/mm | D/mm | B1/mm | H/mm | H1/mm | n-d |
| WN-0. 63 | 3 | — | 2.4 | 695 | 670 | 190 | 660 | 460 | 3 —Φ23 |
| 5 | — | 4 | 800 | 600 | |||||
| 7 | — | 5 | 930 | 730 | |||||
| 9 | — | 6 | 1070 | 870 | |||||
| 11 | — | 7.5 | 1210 | 1010 | |||||
| 13 | — | 9 | 1350 | 1150 | |||||
| 15 | — | 10 | 1480 | 1280 | |||||
| 17 | 1 | 11 | 1740 | 1540 | |||||
| 19 | 1 | 12 | 1880 | 1680 | |||||
| WN-1 | 5 | — | 6 | 860 | 810 | 200 | 850 | 6SO | 3 —Φ23 |
| 7 | — | 8 | 990 | 790 | |||||
| 9 | — | 10 | 1130 | 930 | |||||
| 11 | — | 12 | 1270 | 1070 | |||||
| 13 | — | 14 | 1410 | 1210 | |||||
| 15 | — | 16 | 1540 | 1340 | |||||
| 17 | 1 | 18 | 1810 | 1610 | |||||
| 19 | 1 | 20 | 1950 | 1750 | |||||
| 21 | 1 | 22 | 2080 | 1880 | |||||
| 23 | 1 | 24 | 2220 | 2020 | |||||
| 25 | 1 | 26 | 2360 | 2160 | |||||
| 27 | 2 | 28 | 2630 | 2430 | |||||
| 29 | 2 | 30 | 2770 | 2570 |
4.3密封圈
4.3.1 密封圈型式、基本参数和主要尺寸见图2、表4和表5。

图2密封圈
表4尺寸表单位毫米
| 类别 | D | d | H |
| WN-0. 63 | 690 | 620 | 8 |
| WN-1 | 860 | 790 | 8 |
表5明细表
| 件号 | 标准号 | 名称 | 数量 | 材料 |
| 1 | QB/T 3627 | 外衬套 | 1 | 聚四氟乙烯 |
| 2 | 内垫片 | 1 | 非金属软质垫片(按介质和使用温度要求) |
4. 3.2 密封圈用聚四氟乙烯应符合QB/T 3627规定,厚度均匀,允许偏差为士0. 1 mm,密封平面不允许有皱纹及径向沟槽。
4. 3.3 搪玻璃环型式、基本参数和主要尺寸见图3、表6和表7。

图3 搪玻璃杯
表6尺寸表 单位毫米
| 类别 | D | d | H |
| WN-0. 63 | 695 | 595 | 120 |
| WN-1 | 860 | 760 | 140 |
表7明细表
| 件号 | 标准号 | 名称 | 数量 | 材质 |
| 1 | HG/T 2049 | 高颈法兰 | 2 | 符合GB 25025要求 |
4. 3. 4 器盖、器底、冷凝中片1、冷凝中片2型式、基本参数和主要尺寸见图4、图5、图6、图7和表8。

图4 器盖

图5 冷凝器中片 1

图6 冷凝器中片 2

图6 冷凝器器底 2
表8尺寸表 单位为毫米
| 类别 | DN | D | d1 | d2 | d3 | d4 | d5 | d6 | B1 | h | h1 |
| WN-0. 63 | 695 | 670 | 130 | 202 | 65 | 130 | 65 | 128 | 190 | 58 | ~200 |
| WN 1 | 860 | 810 | 130 | 202 | 65 | 130 | 80 | 148 | 200 | 58 | ~200 |
4.4标记
符合HG/T 4298,单片冷凝面积1 m2,总冷凝面积10m2的多孔搪玻璃片式冷凝器,其标记为: 多孔搪玻璃片式冷凝器HG/T4298-WN-A1-10
标记中各要素的含义如下:
WN—多孔搪玻璃片式冷凝器;
A1——单片冷凝面积为lm2;
10——总冷凝面积为10 m2。
5 要求
5. 1多孔搪玻璃片式冷凝器的设计、制造、检验和验收按GB 25025的规定。
5.2器盖、器底和换热片夹层水压试验压力为0.35 MPa。组装后,器内做0. 15 MPa的水压试验,应无泄漏。
5.3 中片1和中片2必须间隔排放,且中片1的小孔应和中片2的小孔间错开,以防短路。
5. 4 擴玻璃层厚度0. 8 mm~1. 5 mm.
6 铭牌、出厂文件及包装、运输
6.1 铭牌、出厂文件及包装、运输按GB 25025有关规定。
6.2 铭牌应安装在器盏酸目位罝9
6.3 外餌的搪玻璃面必须严格保护。
6.4 产品出厂前应妥善保管,防止雨雪天气及腐蚀性介质侵蚀.一般不允许露天存放。


